Yeraltı Kablo Arıza Tespiti – 0505 395 52 82 https://www.kabloarizatespiti.com Yeraltı Kablo Arıza Tespiti ve Onarma Hizmetleri Mon, 14 Aug 2023 13:31:59 +0000 tr hourly 1 https://wordpress.org/?v=6.8.3 https://www.kabloarizatespiti.com/wp-content/uploads/2022/01/cropped-KABLOARIZATESPITI.COM-LOGO-32x32.png Yeraltı Kablo Arıza Tespiti – 0505 395 52 82 https://www.kabloarizatespiti.com 32 32 Kablo Arıza Bulucu https://www.kabloarizatespiti.com/kablo-ariza-bulucu/ https://www.kabloarizatespiti.com/kablo-ariza-bulucu/#respond Fri, 15 Apr 2022 08:25:30 +0000 https://www.kabloarizatespiti.com/?p=1999 Kablo Arıza Bulucu

Kablolar günlük hayatımızda büyük bir rol almaktadır. İçinde yaşadığımız teknolojik çağda öncü bir yaşama yol gösterir. İletişim kurarak, veri aktararak, verileri konsolide ederek ve birleştirerek hayatımızı kolaylaştırmamıza yardımcı olur. İster yer altı ister yer üstü olsun her yerde bulunabilir. Bu kabloların gerekli süreçlerden geçmesi gerekir ve düzenli bakım gerektirmez.

Karmaşık kablolama sistemlerinde kablo çiftlerini ve kablonun devamını veya bilinmeyen kablonun uçtaki diğer çiftini bulmak için üretilen cihaza kablo bulucu denir.

Kablo arıza bulucuÇalışan PC terminaline yönlendiriciye Ethernet anahtarına bağlanan tüm arızalı kabloları bulunur.
Arızadan sonra hatalı noktaları aramaya başlayabiliriz ve varsayılan noktalar tespit edildikten sonra.
İster yer altı ister yer üstü olsun her yerde bulunabilir. Bu kabloların gerekli süreçlerden geçmesi gerekir ve düzenli bakım gerektirmez.

Arıza Tespit Cihaz Detayları
Birçok firmaların kullandığı kablo arıza tespit cihazları sayesinde bakıma ihtiyacı olan kablolar daha kolay ve hızlı tespit edilmektedir. Kablo kopması, Kablo arıza bulucu yangın, belirli bir bölgede meydana gelen kısa devre, elektrik kesintisi ve yavaş veri gibi nedenler kablo arıza dedektörü ile kolaylıkla tespit edilir. Bu noktada, her iki cihaz da firmamızı görecek. Kablonun sonundan TW8800 ve TW82 ile, yeraltı kablosu izlenir ve hataya olan mesafe noktaya kadar ölçülür. Bundan sonra, bu nokta hariç, hataları düzeltme yapılır.

Eğer problem kısa devre veya kablo kopukluğundan kaynaklanıyorsa kullanılan ohmmetre ile ona bağlı iki kablo arasında ölçüm yapılır. Ölçüm yüksek ise sorunun kısa devreden kaynaklandığı belirlenir. Ölçümde herhangi bir veri ile karşılaşılmazsa, sorun kablonun bağlantısının kesilmesinden kaynaklanmaktadır. Herhangi bir kablo kopmasına karşı dayanıklı olarak üretilen bu cihazlar sayesinde problem hemen anlaşılır ve problem anında çözülür.

Kablo Arıza Bulucu

Kablo Arıza Bulucu

TW8800 ve TW82, zeminde enerjik ve enerji dışı kablolardır.
TDR500/3, farklı kablolardaki hataları ve hatanın hangi saatte oluştuğunu algılayabilen bir cihazdır.

TDR500 / 3;

► Hasarlı güç kaynağı kablosu,
► Bakır telekomünikasyon kablosu,
► Koaksiyel kablo,
► Kablo altyapısında arıza yeri bulunabilir.
► Bu arızalar, kabloların kopma, kısa devre, nem hasarı ve diğer arızalar için empedans değişikliklerini test ederek kablolarda bulunabilir.
► 4000 metreye kadar uçtan uca kablolarda kullanılabilir.

3 farklı frekans; 0.82kHz, 8.2kHz, 82kHz kablolardan birini yan yana veya diğer kabloların yanında arayabilirsiniz. Kablo arıza bulucu TW8800, canlı kablo ve ölü kablo arayabilir. Cihaz verici ve alıcı olmak üzere iki kısımdan oluşmaktadır.
Verici ve alıcı birlikte kullanılır (elektriksiz kabloda). Verici tarafından gönderilen sinyal alıcı tarafından okunabilir ve kablonun konumu belirlenebilir.

Elektrik çarpması sonucu hayatlarını kaybeden birçok insan var. Kablo arıza bulucu Bu nedenle, kablo hatalarının tespiti mümkün olan en kısa sürede yapılır, onarım en kısa sürede yapılmalıdır. Bu durumda, firmamız aynı zamanda en güvenilir ve en hızlı müşteri hizmeti sağlayarak kablonun başarısızlığını da belirler. Sağlıktan daha önemli bir şey yoktur, firmamız güvenilir ve en hızlı müşteri hizmeti sunar. Bu konuda firmamızdan hizmet alabilirsiniz.

]]>
https://www.kabloarizatespiti.com/kablo-ariza-bulucu/feed/ 0
Kablo Arıza Bakım https://www.kabloarizatespiti.com/kablo-ariza-bakim/ https://www.kabloarizatespiti.com/kablo-ariza-bakim/#respond Fri, 15 Apr 2022 08:17:16 +0000 https://www.kabloarizatespiti.com/?p=1997 Kablo Arıza Bakım

Bu günlerde, yaşımızın ihtiyaçlarına göre elektrik olmak için çok fazla enerjiye ihtiyacımız var. Bu enerjileri evlerimize getirmek için kullanılır. kablo arıza bakım Kablolar, sağlık için izolasyon ve avantajlar sağlar ve çevre hayatımızda önemli bir rol oynar.
Bu tür sıklıkla kablo, ürün, tüketim ve onarımların kullanılmasıyla. Bir arz ve talep ilişkisinin ihtiyaçlarına göre üretim arttı. Ancak, israfı önlemek için, gerektiğinde kabloların bakımı yapılmalıdır. Firmamız kablo arıza bakım hizmeti ile müşteri memnuniyetini ön planda tutmakta, kablo arızalarını en iyi ve güvenilir şekilde onarmakta ve kabloların ömrünü uzatmaktadır.

Kablo yapımında yağ kullanılır ve yağ çevreye zararlıdır, kablo arıza bakım bu nedenle kabloların kullanım ömrünü uzatmak gerekir. Arızalı kabloyu çöpe atmak hem çevreye hem de cebinize zarar verir. Bunun olmasını önlemek için bir arıza olduğunda kablo için bakım onarım moduna sahip olmak gerekir. Firmamız alanında uzman kişiler tarafından kablo arıza bakımları yapılarak hem çevreye hem de cebinize fayda sağlayan bir hizmet verilmektedir.

Kablo Hattı

Hayatımızdaki büyük ve önemli kablolar. İletişimde, enerji, kablo arıza bakım ticari faaliyetlerin ve elektrik şebekelerinin iletimi gibi birçok geniş kullanım alanına sahiptir. Bu kabloların bazı kolonileri vardır. Kabloların tespiti ile bu kablolar tarafından keşfedilmiştir. Bu yeraltı kablosu kanalı cihazlar tarafından tespit edilir, çünkü yeraltı kablosu yoğunluğunu arttırır. Kullanılan bu cihazlar sayesinde, sembol sembol seviyesi mevcut tüm modlarla kontrol edilir. Güç kablosu kolayca izlenir, özellikle uzun süredir, elektrik şebekesinin derinlemesine uzun mesafeyi dikkat edin. Bu şekilde, kablonun yolu belirlenir. Bu tanımlanmış yol tespiti sayesinde, kablo hattında bulunan alanlar, çözülmüş derinlik aslında hasar durumunda başarısızlıkları tespit eder ve onarır. Ek olarak, bu alanda, bu alanda elektrik, su ve internet varlıkları hakkında bilgi sahibi olur, o zaman bu alanda iş yükünüzü tanınırsınız.

Kablo Tespiti

Altyapı çalışmaları gelişen ve gelişmekte olan toplumlarda olağan hale gelmiştir. kablo arıza bakım Örneğin elektrik hatları, su boruları, doğalgaz boru hatları gibi birçok sistem yer altında yer almaktadır. Tüm bunlarla birlikte metro hatları da yerin binlerce kilometre altında ve metrolar elektriksiz çalışamıyor. Yeraltı çalışması yapılması gerekse bile tüm bunlar göz önünde bulundurularak hafriyat çalışmaları yapılır. Bu tür kazı çalışmalarına başlamadan önce kablo derinliği tespiti yapılmalıdır. Kablonun cinsi ne olursa olsun, çalışılacak derinlik ve bu derinliğe kadar karşılaşılacak hattın cinsi ile ilgili bilgiler ekibimiz tarafından toplanır. Kablo derinlik tespiti için gerekli tüm ekipmanlar firmamızda mevcuttur. Modern ve uygun şekilde geliştirilmiş ekipmanlar kullanılarak kablonun derinliği ve konumu belirlenir ve buna göre işlemler yapılır. Derinlik tespiti sırasında elde edilen verilerle altyapı haritaları oluşturulur ve planlanan projeler için ön hazırlık yapılır. İşi yapacak firmalar bu altyapı haritalarına göre işlerini çok güvenli ve rahat bir şekilde yapabileceklerdir. Bu konuda firmamızdan hizmet alabilirsiniz.

]]>
https://www.kabloarizatespiti.com/kablo-ariza-bakim/feed/ 0
Yer Altı Kablo Arıza Tespiti https://www.kabloarizatespiti.com/yer-alti-kablo-ariza-tespiti/ https://www.kabloarizatespiti.com/yer-alti-kablo-ariza-tespiti/#respond Tue, 05 Apr 2022 09:13:37 +0000 https://www.kabloarizatespiti.com/?p=1991 Yer Altı Kablo Arıza Tespiti

Yeraltı Kablo arıza  tespiti nasıl yapılır

yeraltı Kablo arıza nedenleri

 

Kablo sistemleri, elektrik, telekomünikasyon ve görüntüleme sistemlerinde veri ve elektriğin iletiminde yaygın olarak kullanılmaktadır. Kablolar güvenlik ve çevre kirliliği gibi sorunlara yol açmayacak şekilde zemine yerleştirilmelidir. Kilometrelerce uzunluktaki bu kablolarda zaman içerisinde çeşitli nedenlerle farklı arızalar oluşabilmektedir. Bu makalede, yeraltı kablo arızaları, yer altı kablo arıza tespiti ve bunları tespit etmek için hangi cihazların kullanıldığı hakkında daha fazla bilgi edinebilirsiniz. Ülkemizde elektrik hatları, telefon hatları ve video hatları genellikle sıva altına gömülür veya sıvanır. Zaman içerisinde çeşitli nedenlerle yer altı kablolarında;

Kısa devre
Kablo girişi
Kablo arızası
Kablo kopukluğu

Geçmişte, arıza teşhisi için çeşitli yöntemler ve hesaplamalar kullanılıyordu. Bir ohm metre veya megohmmetre kullanılarak hatalar tespit edilmeye çalışıldı. Hatanın türünü ve ne zaman oluştuğunu belirlemek her zaman mümkün değildir. Bu arızaların tek fazlı hatlarda nasıl tespit edileceğinden bazı kolay tespit edilen hatalara göre bahsedelim.

Kısa Devre Arızası

Yer altı kablo arıza tespiti özelinde arızalı hat bağlı olduğu tüm noktalardan ayrılmış ve tüm uçları açık. Bir ohmmetre kullanılarak, iki iletken damar arasındaki hattın bir ucundan ölçüm yapılır. Sonsuz bir değer (çok büyük değer) normalde hatasız bir satırda okunmalıdır. Sonsuz bir değer yerine sonlu bir değer okunursa, iki iletken arasında bir kısa devre algılanır.

Kopma Arıza Arama

Kısa arıza araması sonucunda sonsuz bir değer okunur ve sonuç alınmazsa bu sefer kablo kopması kontrolü yapılır. Bu noktada ölçümün diğer ucundaki iki kablo birbirine köprülenir ve bir ohmmetre ile ölçüm yapılır. Ölçümden sonra hala sonsuz bir değer okunuyorsa bu satırda bir kırılma noktası olduğunu anlıyoruz.

Toprak Kaçak Testi

Normal şartlar altında toprak ile iletken arasındaki direnç değeri sonsuzdur. Ancak toprak ile iletken arasında yapılan bir ölçüm sonucunda sonlu bir değer okunursa iletkenden toprağa bir kaçak olduğu düşünülebilir. Bu hataları tespit ettikten sonra kaç kilometre kablonun arızalı olduğunu görmek çok önemlidir. Eski yöntemlerde çeşitli hesaplamalar ile kusurlar tespit ediliyordu. Yer altı kablo arıza tespiti açısından kısa devre arızası noktasını belirlemek için; Wheatstone köprüsüyle üç ölçüm yöntemi, bilinmeyen üç denklem yöntemiyle toprak kaçağı hatası ve kapasitans (C) ve endüktans (L) ölçümleriyle bağlantı kesme hatası kullanılır.

Kablo Arıza Tespitinde Kullanılan Arıza Dedektörleri

Yer altı kablo arıza tespiti ile birlikte gelişen teknoloji ile birlikte stres, yorulma ve yüksek hata hesaplamalarının bir kenara atıldığını görebiliyoruz ve farklı hata tespit cihazları ile hatanın ne olduğunu ve nerede olduğunu kolaylıkla tespit edebiliyoruz. Cihazlarını göstermeden önce, bu cihazlarla bir hata tespiti örneği görelim. O zaman bu örneğe göre cihazları tanımamız daha kolay olacaktır.

Örnek; Diyelim ki tek fazlı bir sistemde km uzunluğunda 2 × 50 mm2 yer altı kablo hattında arıza var. Gerekli güvenlik önlemleri alınır ve kablo bağlantıları mevcut sistemden ayrılır. Bu noktada hattın bir ucundan gelen arızalı kablonun iki ucunu TDR500/3 marka teşhis cihazına bağlarız. Cihaz üzerinde gerekli ayarları yaptıktan sonra arıza tespiti başlar ve cihaz arıza olduğunu gösterir. Kabloda kısa süreli bir kısa devre var ve bu arıza 2672’de oluşuyor. Metre cinsinden olduğunu gösterir. Bu detektörler ile ilgili firmamızdan hizmet alabilirsiniz

]]>
https://www.kabloarizatespiti.com/yer-alti-kablo-ariza-tespiti/feed/ 0
Kablo Güzergah Tespit Cihazı – Kablo Sinyal İzleme https://www.kabloarizatespiti.com/1965-2/ https://www.kabloarizatespiti.com/1965-2/#respond Sun, 20 Mar 2022 09:29:53 +0000 https://www.kabloarizatespiti.com/?p=1965           Kablo Güzergah Tespit Cihazı Açıklaması 

 

Açıklama

Kablo güzergah tespit cihazları, aşağıdaki güzergah tespiti ve derinlik ölçümlerini yapar;

– elektrik kabloları

– metal gaz ve su boruları

– telefon kabloları

– fiber optic kabloları (özel kablo ve metal kılıf )

 

Özellikler ve kullanım

Vericinin kabloya frekans uygulayarak kablolada akan akımdan dolayı elektro manyetik alan yaratması ve bu elektro manyetik alanın alıcı tarafından takip edilmesi ile kablo güzergah tespiti yapılır. Vericiden gönderilen  Sinyal alıcı tarafından algılanmakta (cihaz markalarına göre alıcı ve vericiden sinyal frekansı değiştirilip sinyal şiddeti ve kazanç yükseltilmektedir.) Sinyal akustik ve sayısal olarak alıcının LCD ekranında görülebilmekte ve kablo takip edilmektedir.

 

Uygulama alanları

Kablo güzergah tespit cihazı ile geniş bir kullanım alanına sahiptir:

– Kablo ve boruların güzergah tespiti

– Kablo ve boruların derinlik tespiti

– Kablo tefriki, canlı kablolarda 

– Kablo kılıf arızası tespiti (GRP)

 1000 hz 815 hz,512 hz (düşük)sinyal

Genellikle düşük sinyal seviyesinin tercih edildiği sahalar, takibi yapılan kabloya gönderilen sinyalin diğer kablolardan veya su borularından daha kolay etkilenebileceği ortamlarda kullanılır. Ayrıca düşük Hz sinyal seviyesi yüksek(5 khz,8 khz,vb)  göre (daha az güç tükketiğinden)daha uzun kablolarda güzergah izleme imkanı sağlar. 

 

Genel olarak 8 kHz 33 kHz yüksek sinyal seviyesinin tercih edildiği durumlar, kabloların veya boruların köşe dönüşü yaptıkları ve topraklamasız kablo kılıflarıdır. Ayrıca 8ve 33 kHz sinyal endüktif izleme(dışarıdan temazsız bağlantı) içinde daha uygundur. 

 

Minimum veya maksimum metodlar alıcı üzerindeki düğmeler ile seçilir. Alıcı üzerindeki ekrandan veya uyarı sesleri ile izlenen kablonun hangi yönde ilerlediğini kullanıcıya gösterir. Ayrıca tek bir düğmeye basarak derinlik ölçümü ve akım ölçümü yapılabilir.

 

33ve 82 kHz sinyal

82 kHz sinyalin  815 Hz sinyale göre tercih edilmesinin sebebi genellikle sert köşeli kablo ve su borusu izlemesi durumlarında gerekmektedir. Ayrıca 82 kHz sinyal atlayan bağlantısız kablo kılıfları ve topraklama durumlarında yararlıdır. İzleme sırasında aniden değişen sinyal şiddetleri bu gibi bir duruma işaret edebilir. Ayrıca endüktif bağlantı ile izleme esnasında 82 kHz sinyal seviyesi çok daha etkin olacaktır. Bu sebepten dolayı genel olarak 82 kHz sinyal seviyesi endüktif bağlantı için geçerlidir. 82 kHz sinyal seviyesinin menzili çok daha kısadır. Bu sebepten dolayı verici çok sık olarak yer değiştirilerek kablo güzergahı izlenmesi durumunda kalınacaktır. Bir başka dezavantaj ise komşu kabloların endüktif yüklemeden etkilenmesidir.

 

Not: Çok noktadan topraklanan kabloların güzergah takibi 

Pos. Açıklama
1 Verici
2 Siyah test kablosu
3 Topraklama çubuğu
4 Kırmızı test kablosu
5 Bağlantı kutusu
6 Yeraltı kablosu (Kablo TV)

 

Alıcı izlenecek kabloya bağlanırken veya kablodan ayrılırken mutlaka kapalı tutulmalıdır.

Bu yöntem mevcut topraklama noktaları kullanarak kablo güzergah izlenmesini sağlayacaktır. Bu yöntem ile mevcut sistem devreden çıkarılmadan operasyon yapılabilme şansı elde edilmiş olur. Uygulama alanı yaklaşık 1km’dir.

  • Seçilmesi gereken frekans seviyesi hakkında bilgiler

 

815 Hz veya 82 kHz sinyal seviyelerinin kullanımları kablonun bulunduğu bölgenin koşullarına göre değişir.

Her bir frekans seviyesi (815 Hz ve 82 kHz) kendine has avantajlara sahiptir. Her iki frekans seviyesi kullanılması daha kesin izleme sağlayacaktır. Kablo güzergah takibine önce 815 Hz veya diğer cihazlardaki düşük  sinyal şiddeti ile başlayın. Eğer sinyal izleme esnasında birden azalıyor,  yok oluyor veya beklenmedik dönüşler yapıyorsa sinyal seviyesini  yüksek 82 kHz’e çevirin.

 

815 veya düşük Hz sinyal seviyeleri

815 Hz frekans seviyesi genellikle 82 kHz sinyale göre daha fazla tercih edilmektedir. Bunun temel sebebide 82 kHz  veya diğer yüksek sinyal seviyesinin komşu kablolardan ve su borularından kolay etkilenmesi ve güzergah takibi sırasında hata vermesidir. 82 kHz sinyaline göre 815 Hz sinyalin menzili daha uzundur. 815 Hz sinyal ise bağlantısı olamayan kılıflarda ve izolasyonsuz borularda pek iyi sonuç vermez. Bunun yerine 82 kHz sinyal seviyesi seçilmelidir. Kullanıcının sinyal seviyelerini kendi tecrübesine göre seçmesi ve operasyon sırasında gerekli şekilde düzeltmesi gerekmektedir.

 

İdeal bağlantı

 

Uygulama

Güzergah tespiti kablo bağlantısı

Kablo kılıfını veya nötre fazını ayırın. Kırmızı test kablosunu kablo kılıfına veya nötr kablosuna bağlayınız, siyah test kablosunu kablo kılıfın ve nötr’ün daha önceden bağlandığı sistem toprağına bağlayın.

Kırmızı/Siyah test kablosunu verici üzerindeki „TX output” jack’ine bağlayınız. Frekans seviyesini 815 Hz’e ayarlayın. Verici çalışmaya başladıktan sonra frekans yükleyicisi yanıp sönmeye başlayacaktır.

Bu metod hem güvenilir hemde parazitlerden etkilenmeyen bir yöntemdir. Topraklama çubuğuna ihtiyaç yoktur. Kullanım alanı 25 km’dir.

Güvenlik nedeniyle takibi yapılan kablo servis dışı kalacaktır. Bu metod ile yapılacak güzergah takibi mutlaka yetkili ve eğitimli personel tarafından yapılmalıdır.

  • Flexicoupler ile bağlantı( endüktif bağlantı)

1 Verici
2 Flexicoupler
3 Yeraltı kablosu

 

Uygulama:

– Güzergah takibi (kablo, gaz, su)

 

Opsiyonel olan Flexicoupler aparatı hem kullanılması kolay hemde servis halindeki canlı kablolarda elektrik kesilmeden güzergah takibi yapılabilir. Bu metod ile güzergah izleme mesafesi direk bağlantıdan daha kısadır. Kabloya verilen sinyal komşu kablolara veya borularada atlayabilir. Bu metodun kullanımında hem kırmızı test kablosu hemde topraklama çubuğuna ihtiyaç yoktur.

Flexicoupler ile başarılı bir güzergah izlemesi için kablonun her iki ucundada izole ve topraklanmış iletken olması gereklidir.

Flexicoupler aparatını kablonun çevresine geçirin. Flexicoupler aparatını mutlaka izlemek istediğiniz kablonun etrafına geçiriniz. Flexicoupler aparatının birden fazla kablonun etrafına bağlanması durumunda sinyal her bir kablo boyunca ilerleyecek ve güzergah izlerken yanlış sinyal alınmasına neden olacaktır. Bu bağlantı metodunda izleme uzaklığı daha kısadır. Ayrıca birden fazla kablonun bulunduğu noktalarda hangi kablonun izlendiği kesin olarak tespit edilemeyebilir.

Flexicoupler aparatını verici üzerindeki „TX output” jack’ine bağlayınız. Frekans seviyesini 82 kHz’e ayarlayın. Verici çalışmaya başladıktan sonra frekans yükleyicisi yanıp sönmeye başlayacaktır.

 

Not: Geniş flexicoupler (Ø 200 mm) üzerindeki ayar düğmesinden 82 kHz’i ayarlayınız. (Genellikle 82 kHz’yi kullanınız) verici üzerindede aynı frekans seviyesini ayarlayınız.

Eğer küçük flexicoupler (Ø 100 mm) aparatını kullanıyorsanız sadece 82 kHz frekans seviyesini kullanınız.

                         

1 Kablo üzerinde sinyal gücü

(Maksimum metod)

2 Yeraltı kablosu veya boru (kesit)
3 Kablo üzerinde sinyal gücü

(Minimum metod)

4 Yeraltı kablosu veya boru (kesit)

 

Vericinin bağlanması ve alıcının açılmasından sonra vericiden yaklaşık 5 m uzakta alıcı ile güzergah tespitine başlanabilir. Endüktif metod ile alıcının vericiden yaklaşık 8 m uzakta olması gereklidir. 

Alıcının ekranını kendinize doğru tutarak LCD ekranda bar grafik ve sesli uyarılar ile güzergah takibine kolayca başlayabilirsiniz. Vericinin üzerinde 815 Hz sinyal seviyesi ayarlandıktan sonra alıcı üzerinde de aynı seviye seçilmelidir. Endüktif bağlantı yapılıyorsa 

82 kHz sinyal seviyesi seçilmelidir. Minimum veya maksimum metodlardan herhangi biri seçilebilir.

  • Maksimum metodun açıklanması

1 Kablonun çapraz bir şekilde alıcı sallanarak kablo güzergahının takibi
2 Maksimum modda kablo üzerindeyken sinyal karateristiği

 

CL 20 alıcısını kabaca dikey pozisyonda tutunuz. Kablo güzergahı boyunca alıcıyı sallayınız. Kablo veya boru güzergahının tam üzerindeyken vericiden maksimum sinyal seviyesi elde edilecektir. Kablo boyunca alıcıyı salladıkça ekran üzerindeki sinyal şiddetinin miktarı hem bar grafik olarak hemde ölçü olarak azalıp arttığı operatör tarafından görülebilir.

Kablo boyunca yürürken CL 20 alıcısını sallayarak maksimum sinyal seviyeleri kablonun güzergahını gösterecektir.

 

Kablo güzergah takibi yapılırken vericiden uzaklaştıkça hem sinyal şiddeti hemde izlenen sinyalin miktarı azalacaktır. Bunu telafi etmek için CL 20 alıcısında kazanç butonu vardır. Vericinin bulunduğu pozisyondan uzaklaştıkça kazanç butonu ayarlanarak güzergah tespiti aynı hassaslıkta yapılabilir. Eğer CL 20 alıcısı üzerindeki ölçülen miktarlarda ani değişiklikler olursa aşağıdaki durumlardan biriyle karşı karşıya kalmış olabilirsiniz:

 

  1. Bir bağlantı noktası ve kablo birden fazla noktaya ayrılıyor
  2. Kabloda veya kılıfta bir kesik
  3. Kablo veya borunun derinliğinde ani değişim
  4. İzole edilmiş boru bağlantısı
  5. Gevşek kablo boşluğu
  6. Topraklama hatası

Eğer kabloyu izleyemiyorsanız, kazanç maksimuma ayarlıysa bile, vericiyi diğer uca bağlayarak sinyali kaybettiğiniz noktadan tekrar güzergah takibine devam edebilirsiniz.

Maksimum veya minimum yönteme bağlı olmaksızın doğruca ilerleyen kablolar ile S yapan veya köşelerden dönen kabloların izlenmesi arasında fark vardır. Bu durumda kablonun doğruca ilerleyen kısmını her 1-2 metrede bir boya veya tebeşir vasıtasıyla işaretlemek ve köşelere geldikçe bu işaretlemeyi her 20 cm’de bir tekrarlama kesin kablo güzergah tespitinde oldukça yararlı olacaktır. 

 

Alıcı Üzerinde kazanç düğmesi kazancın küçük oranlarda artırılmasına ve azaltılmasına yardımcı olacaktır. Eğer kazanç miktarı (Ekranın üstünde rakamla belirtilmektedir) çok düşükse kazanç artırılarak ölçülen miktar orta seviyeye getirilebilir. Aynı şekilde eğer kazanç çok yüksek ise kazanç azaltılarak miktarda bir düşme sağlanabilir.

Eğer vericide her iki sinyal seviyesi (both modu) seçilmiş ise alıcı üzerinde sinyaller karşılaştırılabilir. 

Kablo içinden geçen sinyalin ve kablonun yönünün tespiti

Alıcı kablo üzerinde konumlandırıldıktan sonra en düşük sinyal şiddeti (minimum yöntemde) kablonun yönüne işaret eder. Aynı zamanda alıcı üzerinde tek bir tuşa basarak akım miktarı eş zamanlı olarak tespit edilir. Farklı noktalardaki farklı akım miktarları kablonun hangi yönde ilerlediğini operatöre belli eder. Böylece S yapmış veya birbiri ile karışık kablo şebekelerinde operatör kablo yönünü kolayca tespit eder.

  • Minimum metodun açıklanması

CL 20 alıcısını kablo üzerinde yaklaşık olarak düşey pozisyonda tutun. Kablo hattının üzerinde alıcıyı sallayın. Alıcı kablo veya boru güzergahının üzerindeyken minimum methodda sesin anlık düşüşü ve en düşük akım şiddeti ekran üzerinden okunacaktır. Alıcı kablo üzerinde sallanırken güzergahtan çıktıkça yüksek ses ve akım şiddeti miktarı artarak operatöre güzergahtan sapıldığı sinyalini verecektir. Minimum yöntemde alıcı kablo üzerinde ilerlerken sağa sola doğru sallanarak güzergah tespiti yapılır.

Güzergah tespiti sırasında vericiden uzaklaştıkça alıcının izlediği sinyallerde bir azalma olacaktır. Bu durumda alıcı üzerindeki kazanç düğmesine basılarak kazanç tekrardan arttırılabilir. Eğer akım sinyalinde çok şiddetli bir değişim oluyorsa, aşağıdaki durumlardan biriyle karşı karşıya olabilirsiniz:

 

  1. Kablonun birden fazla yöne ayrılması (t-branşman) 
  2. Kabloda veya kılıfta delinme
  3. Kablonun ani bir şekilde derinliğinin değişmesi
  4. İzole boru eki
  5. Sarkık veya S yapmış (yığın olarak gömülmüş) kablolar
  6. Topraklama hatası

Eğer kabloyu izleyemiyorsanız, kazanç maksimuma ayarlıysa bile, vericiyi diğer uca bağlayarak sinyali kaybettiğiniz noktadan tekrar güzergah takibine devam edebilirsiniz.

Maksimum veya minimum yönteme bağlı olmaksızın doğruca ilerleyen kablolar ile S yapan veya köşelerden dönen kabloların izlenmesi arasında fark vardır. Bu durumda kablonun doğruca ilerleyen kısmını her 1-2 metrede bir boya veya tebeşir vasıtasıyla işaretlemek ve köşelere geldikçe bu işaretlemeyi her 20 cm’de bir tekrarlama kesin kablo güzergah tespitinde oldukça yararlı olacaktır. 

  • 50 / 60 Hz pasif modda güzergah tespitinin tanımlanması

CL 20 alıcısı servisteki kabloların frekans seviyelerini algılayarak güzergah tespiti yapabilir.

Bu mod ile alçak gerilim yeraltı kabloları tespiti kolaylıkla yapılır. Bazı durumlarda bu metod ile su borularını, kanalizasyon, kablo TV ve telefon hatlarınıda tespit edebilir.

Verici kullanılmadan alıcı üzerinde 50 / 60 Hz ve maksimum mod işaretlenerek servisteki kablolar tespit edilir. Bu metodda izleme maksimum metod gibi uygulanmaktadır. Ancak verici kullanılmamaktadır. 

Bu metod hem çok kullanışlı hemde çok hızlı bir şekilde operatörü hedefe ulaştırmaktadır. Ancak bu metodda unutulmaması gereken nokta kablo tespiti yapılacak bölgede birden fazla canlı kablo bulunmasının çok muhtemel olacağıdır birde frekansı algılamak için aynı zamanda kabloda akım akması gerekmektedir

  • Kesin sinyal şiddetinin tanımlanması

CL 20 alıcısı operatöre kablo derinliğini doğrudan ölçümünü sağlamaktadır. Bu ölçüm alıcının üzerindeki ekrandan 3 haneli nümerik olarak verilmektedir. Alıcının ekranı üzerinde akım sinyalinin şiddeti 0’dan 999’a kadar bir skala içerisinde operatör tarafından izlenebilir. Kesin sinyal şiddeti (okunan sinyal şiddet miktarı) kazançtan, vericinin uzaklığından ve diğer etkenlerden bağımsız olarak kablo içinden geçen akım sinyal şiddetini (miktarı) CL 20’nin ölçmesidir.

Kesin sinyal şiddetinin ölçülmesi her an CL 20 alıcısının ekranından izlenebilmektedir. Eğer ölçüm çok yüksek veya çok düşük ise ekran üzerinde herhangi bir kesin sinyal şiddeti görülemez. Kazanç ayarlanarak kesin sinyal şiddeti orta miktara getirilerek kesin sinyal şiddeti görülebilir. Bu gibi bir durumda ekran üzerinde ‘ – – -‘ işareti görülecektir.

Kesin sinyal şiddeti bar grafikten daha hassastır. 

Not: Operatörün karıştırmaması gereken iki ölçüm vardır. Kesin sinyal şiddeti  ve derinlik tespiti için ayarlanmış sinyal şiddeti (Akım miktarı ölçümü). Kesin sinyal şiddeti operatöre kablo içinde ne kadar sinyal geçtiği ve bunların ne kadarının alıcı tarafından algılandığıdır. Eğer izlenen kablonun derinliği artıyorsa kesin sinyal şiddeti azalacaktır. Bunun nedeni sinyal kaynağı ile alıcı arasında mesafe açılmasıdır. Kablonun derinliği değiştikçe ayarlanmış sinyal şiddeti aynı kalacaktır. Derinlik ölçümü için sinyal şiddeti ölçülmesi öperatöre izlenen kablodan ne kadar akım veya sinyal geçtiği bilgisini verir. 

  • Derinlik ölçümü için sinyal şiddetinin ayarlanması (akımın ölçülmesi)

CL 20 alıcısında bulunan çok kullanışlı bir özellikte birden fazla kablo demeti içinde izlenen kablosunun tefrikinin yapılabilmesi. Pratikte izlenen kablonun diğer kablolar ile etkileşimde bulunması çok olağan bir durumdur. Bu gibi durumlarda yüzeye en yakın kablodaki sinyal daha aşağıdaki kablolara göre yüksek olacaktır. Operatör bu gibi bir durumda izlediği kablonun hangisi olduğunu CL 20 alıcısının akım şiddetinin ölçülmesi yöntemi ile yapacaktır.  Operatör kablonun ne kadar derinde gömülü olduğundan bağımsız olarak akım şiddetini ölçerek izlemekte olduğu kablonun hangi yönde ilerlediğini kesin olarak bu yöntem ile bulacaktır.

Alıcıyı toprak üzerinde dik bir konumda tutarak ilgili düğmeye basılı tutunuz. Ekran üzerinde bir an “thermometer” tip çıkacaktır ölçüm tamamlandıktan sonra ekran “bar grafik” tipine geçecektir. Alıcıyı ölçüm tamamlanana kadar sabit tutunuz. Ekran üzerinde bar grafik yanıp sönecektir, bu derinlik ölçümü için gerekli sinyal seviyesi ölçümüne işaret etmektedir. Operatör her kablo üzerinde aynı işlemi yaparak izlediği kabloyu tespit etmelidir. Ayrıca yanıp sönen bar grafik kablo üzerindeki sinyal seviyesini göstermektedir.

Not: CL 20 operatörü yanlış akım ölçümlerine karşı uyarmak üzere dizayn edilmiştir. Eğer akım miktarı ölçülürken ‘Err’ mesajı gelirse ölçülen kablodaki akım kesin olarak tespit edilememiş demektir. Bu durumda akan akım çok düşük seviyelerde bulunmaktadır ve yapılması gereken bağlantı noktalarının kontrol edilmesi ve ölçümün tekrarlanmasıdır. Bu duruma aynı zamanda yüksek kazanç ayarlamasıda neden olabilir. 

Alıcı kablo muflarının bulunduğu noktalarda veya kablo konumundan kaymalarda akım şiddetinin ölçme işleminde hata mesajı verebilir.  Akım ölçümü yapmadan kablonun güzergahını tam olarak belirleyip alıcıyı üzerine getirerek tekrar ölçüm yapılmalıdır. Güvenli kablo tefriki için tavsiye edilen cihaz KSG 100’dür.

Operasyon sırasında ekran üzerinde ‘CAL’ mesajı çıktığında mutlaka Baur ile temasa geçiniz.

 

CL 20 alıcısı ile derinlik ölçümü

  • Otomatik derinlik ölçümü tanımlanması

CL 20 alıcısı derinlik ölçümünü tek bir düğmeye basarak yapar. Derinlik 5 m’ye kadar cm cinsinden ölçülür ve ekran üzerinden gösterilir. Bu ölçümü yaparken vericiden 5 m kadar uzakta olmak gerekmektedir. Derinlik ölçümü yapmadan önce operatör kablonun tam üzerinde olması gerekmektedir. Alıcıyı toprağa değecek şekilde kablo üzerinde dikey pozisyonda tutunuz ve derinlik ölçümü için işaretlenmiş düğmeye basınız. Derinlik ölçümü tamamlandıktan sonra alıcı derinliği ekran üzerinde gösterecektir. 

Derinlik ölçümü sırasında dikkat edilmesi gereken husus ölçümü yapılan kablonun etrafında etki yapabilecek manyetik alan veya t-branşmanlar olmamasıdır. Operatör ölçüm yapmadan önce t-branşman veya manyetik alan olup olmadığını kontrol etmelidir.

Not: CL 20 alıcısı eğer derinlik ölçümü esnasında ‘Err’ mesajı verirse alınan akım miktarı kesin olmayan bir değere sahiptir. 

Kesin sonuç için önerimiz CL 20 alıcısı üzerinde bulunan hava kabarcığı ile 45° yöntemi ile derinlik tespitinin tekrarlanmasıdır.

Eğer kablo içinden geçen sinyal çok düşükse derinlik tespitinde hata olma olasılığı artmaktadır. Bu durumda vericinin bağlantıları kontrol edilmelidir. 

Aynı zamanda T-branşmanlarda ve kablo üzerinde tam bulunmama hallerinde derinlik ölçümü hata verebilir. Güvenlik nedeniyle ölçülen derinlik seviyesi kesin olarak alınmaz ve kablo hattı kazılırken çok dikkatli olunması gerekmektedir.

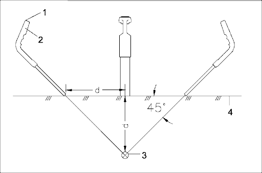
 45° derinlik ölçümü metodu tanımlanması

d Kablo Derinliği
1 Hava kabarcığı seviyesi (45°)
2 Alıcı (45° eğimli)
3 Yeraltı kablosu veya boru
4 Toprak

 

Kablo derinlik ölçümünden önce minimum yöntemi kullanılarak mümkün olduğunca kablonun noktasal tespiti yapılmalıdır. Vericiden 5 mt uzakta durunuz. Alıcıyı dik tutarak zemine yaslayınız. Hava kabarcığını referans alarak alıcıyı 45° pozisyonuna getiriniz.

 

Alıcıyı kablo güzergahına 90° pozisyonda sağa veya sola doğru minimum ses seviyesi duyulana kadar sürünüz. Alıcının minimumu yakaladığı nokta ile kablonun bulunduğu nokta arasındaki mesafe kablo derinliğini göstermektedir. Bu yöntemde hata durumu ancak izlenen kablonun etrafında başka kablo, metal boru, kanalizasyon, demiryolu hattı  etc. varsa mümkündür. Kablo derinlik ölçümünü doğrulamak için yukarıdaki prosedürü takip ederek diğer yönde derinlik ölçümü yapılmalıdır. 

 

Eğer ikinci ölçümde 15 cm’de daha büyük bir farklılık varsa bu durum diğer kabloların veya metal boruların varlığına işaret etmektedir.

  • Manyetik alan tespiti

Eğer t-branşmanlı kablo veya boru bağlantılarının olduğu noktalarda derinlik ölçümü yapılacaksa hata mesajı alma riski yüksektir.

 

Güçlü manyetik alanlarda kesin tespit problemlerine neden olmaktadır.

 

Bu gibi durumlarda derinlik ölçümü için 45° metodu kullanılarak derinlik ölçümünün doğrulamasını yapabilirsiniz. 

]]>
https://www.kabloarizatespiti.com/1965-2/feed/ 0
Yeraltı Kablo Arıza Tespiti Nasıl Yapılır | Kablo Arıza Tespit Cihazları Nelerdir https://www.kabloarizatespiti.com/yeralti-kablo-ariza-tespiti-nasil-yapilir-kablo-ariza-tespit-cihazlari-nelerdir/ https://www.kabloarizatespiti.com/yeralti-kablo-ariza-tespiti-nasil-yapilir-kablo-ariza-tespit-cihazlari-nelerdir/#respond Fri, 11 Feb 2022 09:25:28 +0000 https://www.kabloarizatespiti.com/?p=1955 Yeraltı Kablo Arıza Tespiti Nasıl Yapılır | Kablo Arıza Tespit Cihazları Nelerdir

Elektriksel sistemlerde, enerji ve verilerin aktarılması için kullanılan kablolama sistemlerinin çevre kirliliğinin önüne geçmek, hoş olmayan görüntüleri ortadan kaldırmak ve güvenliği sağlamak amacıyla yer altında barındırılması gerekir. Kilometrelerce uzunluğa ulaşabilen bu iletim sistemlerinde belirli bir noktada oluşan bir arıza sebebi ile tüm iletim hattını kazmak ya da denetim etmek pek de rahat değildir. şundan dolayı arızanın oluştuğu noktayı tespit etmek, arızanın türünü bulmak ve direkt olarak bu noktaya müdahale etmek için oluşabilecek arızalar ve bu arızaların tespitinde kullanılabilecek yöntem ve cihazları beraber inceleyeceğiz.

Yeraltı hatlarında zaman içinde oluşabilecek arıza türleri ; ..
Kablo damarları içinde kısa devreler, kablo zırhındaki deformeler yüzünden su alması, kablolarda herhangi bir sebep ile oluşabilecek hasarlar, kopmalar ve toprak üzerine kaçaklar dır. Meger cihazı, ohm metre, avometre şeklinde ölçü cihazları ile yapılan bu arıza tespit yöntemlerinde, arızanın türü ve oluştuğu noktayı saptamak bazı durumlarda hiç mümkün değilken bazı durumlarda ise sadece arıza türü tespit edilebiliyordu. Tespiti basit olan bazı arızalar ve tespit yöntemleri ;
yeraltı kabloları arıza tespit aygıtı

Yeraltı Kablolarında Bakım ve onarımKısa dönem Arızası : Avometre yahut ohmmetre ile yapılabilecek bu arıza tespitinde,

Avometre için kısa dönem denetim kademesi ( Buzzer ) ile bu testlerin iyi mi yapılabileceğini inceleyelim..

1- Arızalı olan hattın diğer bağlı olduğu tüm hat ve alıcılardan bağlantısı kesilir.
2- Kablonun her iki ucu için tüm damar uçları açık ve birbirine temas etmeyecek hale getirilir.
3- Avometre buzzer kademesinde ( Sesli sinyal kademesi ), kablo damarları içinde ikişerli gruplar halinde ölçümler yapılır. Sinyal alınmadığı sürece kabloda kısa dönem olmadığı varsayılır. Burada bilinmesi gerekenlerden biri kablo damarlarından biri yahut birkaçında kopukluk var ise yine sinyal alınamayacağı ve yanlış tespit yapılabileceğidir.

Ohm Metre için kısa devre denetimü,

Arızalı olduğu kabul edilen hattın öteki tüm hat ve alıcılar ile bağlantısı kesilir.
Kablonun her iki ucu için tüm damar uçları açık ve birbirine temas etmeyecek şekilde ayarlanır.
Ohm metre ile kablonun bir ucundan damarlar arasında ikişerli gruplar halinde ölçüm yapılır.
Arıza olmayan bir hatta, normal şartlar altında sonsuz direnç kıymeti okunması gerekir.
Eğer sonsuz olmayan daha küçük değerler okunuyor ise, hatta kısa dönem olduğu anlaşılır.

Kablo Damarlarında Kopukluk Arızası : Yukarıda avometre için kısa devre testlerini anlatırken, kablo damarlarında kopukluk olması durumunda kısa dönem testinin de hatalı yapılmış olabileceğini söylemiştik. Şimdi bu kopuklukları avometre buzzer kademesi ve ohm kademesi için inceleyelim.

Avometre Buzzer ( Sesli Sinyal ) Kademesi için kopukluk testleri ;
Arıza tespiti yapılacak hattın öteki hat ve alıcılardan ayrılması ve uçlarının temas etmeyecek şekilde ayrılmasından sonra..
Kablonun bir ucunda test etmek üzere ikişerli gruplar halinde şöntleme (birbirine temas ettirme-bağlama ) yapılırken
diğer ucunda avometre probları şöntlenen kablo damarlarına temas ettirilir.

Bu temas esnasında test edilen iki damar için kopukluk söz mevzusu değil ise, buzzer sinyali net bir halde duyulacaktır.
Eğer iki damardan herhangi birinde kopukluk var ise ölçü aletinden herhangi bir sinyal sesi alınamayacaktır.
Bu işlemler gruplar halinde tüm damarlar için tekrarlandığında kabloda kopukluk hangi damarda olduğuda dahil olmak üzere tespit edilmiş olacaktır.

Avometre Ohm Kademesi için Kopukluk Testleri ; Ohm metre için yukarıda anlattığımız kısa devre kontrolleri avometre ohm kademesi içinde aynen geçerlidir. Ohm kademesinde yapılan kısa devre kontrollerinde sonsuz direnç değerleri ölçülüp kısa devre olmadığına kanaat getirildiğinde sıra kopukluk testlerine gelmiş demektir.

Ohm kademesinde yapılacak ölçümlerde buzzer kademesinde yapılan ölçümler şeklinde olacaktır.
Kablonun bir ucunda ölçü aleti ile ikişerli gruplar halinde ölçüm yapılabilmesi için
Karşı ucunda kablo damarlarının birbirine şöntlenmesi ( Birbirine bağlanması-köprülenmesi-kısa devre edilmesi ) gerekir.

Bu şartlar altında yapılacak ölçümlerde eğer sonsuz direnç değerleri okunan bir grup olursa o grupta kopukluk olduğu anlaşılır. Ve damarlar değiştirilerek oluşturulan yeni gruplarda meydana getirilen testler sonucunda hangi damarda kopukluk olduğu tespit edilir.
Eğer hiçbir grup için sonsuz direnç değerleri okunmuyor ise, kabloda kopukluk olmadığı anlaşılır.

 

Yeraltı Kablo Kopuk arıza

Yeraltı Kablo Arıza Tespiti

 

Toprak Arızası kaçağı : Sağlam kablolar için toprak ve iletken arasındaki direnç değeri sonsuz olmalıdır. Sonlu bir kıymet okunuyorsa o damarda toprağa temas var anlama gelir..

Kablo Arıza Tespitinde Kullanılan Arıza Tespit Cihazları

Kablolardaki kısa dönem arızası, kopukluk arızası ve topraklama arızası için yapılan testlerden sonrasında tespit edilen arızanın kablo üzerinde hangi noktada olduğunu tespit etmek de çok önemli ve zor bir iştir. Durumun daha net anlaşılması için örneklemeye çalışırsak, binlerce metre uzunluğundaki bir yeraltı kablosunda arızanın kopukluk veya kısa dönem bulunduğunu tespit ettik diyelim, bu arızanın hangi noktada olduğunu bilmezsek tüm hattı değişiklik yapmak gerekebilir.

Tabii bunu yapmak binlerce metre uzunluğundaki bir hat için hem çok fazla iş gücü hem de çok fazla maliyet oluşturacağından pek de mümkün değildir. Bu işlemi yapmak için eski sistemlerde kullanılan farklı yöntemler olsada, bu yöntemler hem çok fazla iş gücü gerektiren aynı zamanda hata payları yüksek yöntemlerdi. Gelişen teknoloji ile birlikte yeni nesil test cihazları hem arızanın türünü hemde kablo üzerinde yerini zahmetsiz ve hatasız olarak tespit edebilmektedir.

Bu cihazları daha iyi anlayabilmek adına bir örnek daha verirsek ;
Örnek : 3km uzunluğunda bir enerji hattında yeraltında bir arıza bulunduğunu düşünürsek, arıza tespiti ve yerini bulmak için lüzumlu güvenlik önlemleri alındıktan sonra ( Enerjiyi kesme- diğer alıcı ve hatlarla olan irtibatı kesme vb. ) aygıt üzerine gerekli bağlantılar ve ayarlar yapıldığında, ölçüm işlemini meydana getiren aygıt bizlere Örneğin, arızanın 2850. Metrede olduğunu ve kısa devre arızası bulunduğunu söyleyebilir.

Aynı işlemler kablonun diğer ucundan yapıldığında ise vereceği sonuç 150. Metre de ve kısa dönem arızası olduğu dur. Bu sonucu şöyle sağlamlayabiliriz. Hattın uzunluğu = 3000 m, ilk ölçümdeki arıza noktası = 2850. Metre, diğer uçtaki arıza noktası = 150. Metre buradan yola çıkarak ; 3000-2850 = 150 diye bir sağlama işlemi gerçekleştirilebilir. Anlatılan bu işlemi gerçekleştirmek için TDR – 410 markalı cihaz kullanılır. Arızanın türü ve metresi belirlendikten sonra sıra arıza noktasına gitmeye geldi.

Doğal bu işlemde söylendiği kadar basit olmayacaktır. Ama burada da teknoloji imdadımıza yetişiyor. Arıza noktasına gitmek için TW 8800 ve TW82 Markalı cihazlar yapacağımız işlemi kolaylaştırıyor. Bu cihazlar ile kablonun ucundan başlayarak mesafe ölçümü ile arıza noktasına gidilebilir. Tw 8800 ve TW82 markalı cihazlar yeraltındaki enerji hatlarını, enerji altında ya da enerjisiz durumda tespit edebilirler.

 

TDR-410 cihazı nedir

TDR-410 cihazının özellikleri

TDR-410 aygıtı, çeşitli kablolar için arıza mesafesini ve arıza türünü tespit edebilen bir cihazdır.
TDR-410 aletinin özellikleri :
1. Elektrik güç kabloları, bakır telekom kabloları, koaksiyel kabloların
2. Kablolama alt yapılarındaki arızanın türünü
3. Arıza noktasını
4. Kısa devre, kopmalar, nem ile oluşabilen hasarlar, ve öteki türdeki arızaları kablo empedansındaki değişimleri hesaplayarak tespit edebilir.
5. Bahsedilen bu tespitleri 4000 metreye kadar uzun hatlarda gerçekleştirebilir.

 

 

Yeraltı kabloları arıza tespiti tdr 410 kullanmasıTDR-410 cihazı Arıza Grafikleri ve Anlamları
TW-82 cihazı: Bu cihaz ile sadece enerji altında olmayan hatlarda arama yapılabilir. Ve kablo takip edeni ile kopma noktası rahatça tespit edilebilir.

Tw-82 cihazının Özellikleri :

1- Bu aygıt tek frekansa haizdir.
2- 3mt ye kadar derinliklerde okuma yapabilir.
3- Transmitter ve receiver adlı iki parçadan kaynaklanır
4- IP65 standartlarında dır. Nemli ve rutubetli ortamlarda mesele çıkarmaz.

Not : Bu aygıt arıza tespiti için kullanılmaz. Sadece kopuk kablolarda transmitter tarafından gönderilecek sinyalda düşüşler olduğu için takip sonucunda kopuk nokta tespitinde kullanılır. Ve TW-82 cihazları sadece enerjisiz kablolarda arama yapabilirler.

 

 

TW-8800 cihazı : 3 farklı frekans değerinde, 0,82 kHz – 8,2 kHz – 82 kHz yan yana giden kablolardan bir ya da bir kaçını arayabilirsiniz. TW-8800 cihazları hem enerji altında hem de enerjisiz ortamda arama yapabilirler. Bu cihazda receiver ve transmitter parçalarından doğar. TW-8800 ler ile aktif ve eylemsiz arama yapılabilir.

Aktif Arama : Transmitter ve receiver birlikte kullanılırlar. Bu işlem yapılırken hatta enerji olmaması gerekmektedir. Transmitter tarafınca gönderilen sinyal receiver tarafınca idraklanarak kablo aranır.

Pasif Arama : Enerji altında yapılabilen bu arama, 50 – 60 Hz bandında arama yapılır. Bu arama türünde, elektrik güç kablolarını, ptt kablolarını ve kablolu Tv hatlarını seyretmek mümkündür.

 

YERALTI KABLO TESPİTİ
]]>
https://www.kabloarizatespiti.com/yeralti-kablo-ariza-tespiti-nasil-yapilir-kablo-ariza-tespit-cihazlari-nelerdir/feed/ 0
Yeraltı Kablo Tespiti Yöntemleri https://www.kabloarizatespiti.com/yeralti-kablo-tespiti-yontemleri/ https://www.kabloarizatespiti.com/yeralti-kablo-tespiti-yontemleri/#respond Sat, 05 Feb 2022 02:32:43 +0000 https://www.kabloarizatespiti.com/?p=1948 Yeraltı Kablo Tespiti Yöntemleri, Yeraltı Kablo Arıza Bulucu, Yeraltı Kablo arıza Tespiti, Yeraltı Kablo Arızası Nasıl Bulunur, Yeraltı Kablo Pasif  Yer Tespit Yöntemi, Yeraltı Kablo Aktif Yer Tespit Yöntemi

Sürekli olarak mülkler üretirken ve yeniden şekillendirirken, topraktan çıkarma kaçınılmazdır ve çeşitli nedenlerle denenebilir. Şu anda bir mezardan çıkarma yaparken keşfedeceğimiz şey, herhangi bir aksilikten stratejik bir mesafeyi korumak için herhangi bir yeraltı çalışan kabloyu keşfetmeniz gerekir. Ayrıca, sadece yıkım yapmak için orada duran bağlantı eksiklikleri olabilir.

Yeraltı Kablo Tespiti Yöntemleri

Yeraltı Kablo Tespiti Yöntemleri

Sürekli olarak mülkler üretirken ve yeniden şekillendirirken, topraktan çıkarma kaçınılmazdır ve çeşitli nedenlerle denenebilir. Şu anda bir mezardan çıkarma yaparken keşfedeceğimiz şey, herhangi bir aksilikten stratejik bir mesafeyi korumak için herhangi bir yeraltı çalışan kabloyu keşfetmeniz gerekir. Ayrıca, sadece yıkım yapmak için orada duran bağlantı eksiklikleri olabilir.

Bir yeraltı kablo bulucu, esasen, herhangi bir mezardan çıkarma alıştırması yapılmadan uzun bir süre önce, bu tür kapalı kamu hizmetlerinin yakınlığını belirlemek için iletilen bir araçtır. Ayrıca, herhangi bir mülkte bu tür flotsam ve jetsam alanını ayırt eder. Vakumlu kazı işlemi sırasında çok sayıda ölümün önlenebileceği gerçeğinin ışığında önemli bir araçtır. Bütün boru hatlarının yer altından geçtiğini kim anlar! Su, gaz, elektrik veya diğer bazı medya iletim hatları olma eğilimindedir.

Bu yakınlığa karar vermek ve bölgesini bulmak için bir bağlantı bulucu kullanılır. Bağlantı tanıma veya sorun bulma, iki stratejiyle mümkün olmalıdır:

PASİF YER TESPİT YÖNTEMİ:

Bir yardımcı program, bir kuvvet bağlantısı yoluyla yayılan birkaç işaret getiriyor olabilir. Başka bir şey, yardımcı programda başlatılan radyasyon nedeniyle boşalan radyo sinyalleri de aynı şekilde bulunabilir. İletken türüne bağlı olarak, vericinin elektromanyetik alanı ayarlanabilir.

Bir elektromanyetik alan iletildiğinde, alanının bir yararlanıcı aracılığıyla tanımlanabileceği açıktır. Bu şekilde bir AC akımı herhangi bir bağlantıdan geçtiğinde kaçınılmaz olarak elektromanyetik alan oluşturacaktır. Bağlantı bulucu kullanılarak alanı takip edilebilir. Olursa olsun, bu sadece canlı akım durumunda, akım bağlantıdan geçerken düşünülebilir. Bu şekilde mevcut dere olmadığında, örneğin yol ışıkları kapalıyken, üstü kapalıysa tanınmaz hale gelir.

Burada düşük yinelemeli ve uzun frekanslı radyo işaretlerinden yararlanılmaktadır. Böyle bir radyo işareti yerden geçtiğinde, aynı şekilde metalik bir yardımcı programa da girebilir. Bu işaret onlar tarafından yeniden ışınlanacak ve buna göre yer bulucu radyo modunda tutularak alanı takip edilebilecek.

Otomatik mod, yoğunluk ve radyo modu sistemlerinin karışımıdır. Her iki strateji de aynı anda gösterilir. Hepsinden iyisi, bu mod, ana site incelemesinin kendisinde yer altı bağlantılarının yakınlığını doğrulayabilir.

AKTİF YER ALGILAMA YÖNTEMİ:

Şu anda, dahil edilmemiş tekniğin nasıl tam olarak onaylandığını düşünüyor olabilirsiniz. Doğru anladın! Yalnızca etkin olmayan modu kullanarak, bu tür yeraltı tesislerinin yarısının tespit edilemeyebileceğinin ötesinde. Dahası, sitenin her şeye rağmen ortaya çıkarılması tehlikelidir.

Bu şekilde dinamik stratejide bir işaret bağlantı bulucu ve bir işaret vericisi vardır. Fark nedir? Bu birim bağlantıya bir işaret verecektir ve bu işaret bağlantı bulucu tarafından bulunabilir.

Temel olarak konum belirleyiciyi kullanmak, bunların herhangi bir hediye taşımadığı ve herhangi bir radyo işareti yaymadığı gerçeği ışığında, birçok kapsanan bağlantıdan büyük bir fırsatı kaçırmanıza neden olacaktır. Böyle bir durumda, bu kapsanan yardımcı programların üzerine bir işaret sorulur ve ardından bulucu kullanımı ile bunları keşfedebilirsiniz.

Şu anda, bağlantılarla herhangi bir fiziksel ilişki kurmanıza gerek yok. Yerin içinde çekici bir alan yaratılır. Yakınında herhangi bir metalik fayda varsa, bu noktada işaret vericisi tarafından elde edilecek işaretleri verecektir. Ayrıca, bu şekilde, yardımcı programın alanı bulunabilir.

İşaret vericisinin doğrudan bağlantıya bağlanması ve toprak ilişki noktasıyla ilişkilendirilerek bir devrenin çerçevelenmesi yoluyla bir işaret doğrudan yardımcı programa uygulanır. Bu sayede tabelanın yolu zahmetsizce takip edilebilir. En yetkin tekniklerden biridir.

İşaret, çekici alanı tanıyarak yerleştirilebilir. Şu anda, ferrit çubukların üzerine katlanmış durumdalar ve yer belirleyici bunu elektromanyetik işaretleri bulmak için kullanıyor. Tesisler tarafından yayılan küçük elektromanyetik işaretler, konumlandırıcı devresinin bir bilgi alabilmesi amacıyla bu çubuklar kullanılarak güçlendirilir. İşaretin kalitesini gösteren bir grafik vitrin teslim edilir. En dikkate değer vakayiname, konumlandırıcının aslında yardımcı programın altında olduğu sonucunu çıkarır.

]]>
https://www.kabloarizatespiti.com/yeralti-kablo-tespiti-yontemleri/feed/ 0
Yeraltı Elektrik Kablolarının Sorunları https://www.kabloarizatespiti.com/yeralti-elektrik-kablolarinin-sorunlari/ https://www.kabloarizatespiti.com/yeralti-elektrik-kablolarinin-sorunlari/#respond Sat, 05 Feb 2022 01:27:30 +0000 https://www.kabloarizatespiti.com/?p=1945 Günümüzde fazlası çağdaş topluluk, elektriği evlere dağıtmak amacıyla göze hoş gelmeyen havai kablolar ve elektrik direkleri yerine yeraltı elektrik kablolarını kullanıyor. Yeraltı elektrik kablosu da otopark aydınlatması amacıyla süregelen olarak tüketilir ve ek binalara güç vermesi gereken mülk sahipleri amacıyla iyi bir seçimdir. Bununla birlikte, yeraltı kurulumlarının kendi problemleri yoktur ve havai kurulumlardan daha az sıklıkta olsa da, yeraltı kablosu zaman amacıylade bozunur ve kopar.

Yeraltı kablosu, rastgele bir sayıdan kaynaklanan, bozukluk adı verdiği kopmalara tabidir. Kayalık araziye kurulan kablo, bilhassa kırılmaya karşı hassastır. Kablonun zarar görmesine namacıyla olan diğer şeyler, diğer bir şey kurarken kabloya giren insanlar, donma/çözülme vakitlerında zemin kaymaları ya da kurulum esnasında kablonun hasar görmesidir. Daha evvelce de belirtildiği gibi, bütün elektrik kabloları zaman amacıylade bozunur ve sonucunda problemlar meydana çıkar.

Peki yeraltı elektrik kablonuz bozukluklandığında ya da bozukluklandığında ne yaparsınız? Dürüst olmak gerekirse, en iyi seçeneğiniz, sizin amacıyla yer altı kablosunu ve arayı bulabilecek bir profesyonel aramak olacaktır. Bu iş amacıyla lüzumlu ekipman pahalı olabilir, bu amaçla işi bir profesyonele bırakmanız önerilir. Arıza bulucu, bir kopukluk olup olmadığını teşhis etmek amacıyla bir kablo test cihazı kullanacaktır.

Ardından, yeraltı elektrik kablosunun yolunu izlemek amacıyla bir yeraltı kablo bulucu kullanacak ve büyük ihtimalle kablonun yeraltında nereye gittiğini işaretlemek amacıyla boya kullanacaktır. Bu noktada, kablo bozukluk bulucu, elektrik kablosunun koptuğu noktayı fiilen bulmak amacıyla birkaç yöntemden birini ya da birkaçını kullanacaktır. Alanı topraktaki voltaj farkılıkları amacıyla test eden bir potansiyel tepesi yöntemini kullanabilir ya da elektrik kablosu vasıtasıyla yüksek voltaj dalgalanmasının gönderildiği ve ile teşhis edilebilen bir toprak gradyan yöntemini kullanabilir. özel bir metre. Bu yöntemler, tecrübeli bir yeraltı kablo uzmanı doğrulusunda kullanıldığında son derece doğru ve verimlidir. Bununla birlikte, elektrik kablosundaki ya da zemindeki koşulların bu yöntemlerin çok iyi çalışmasını engellediği vakitler vardır.

Aşırı durumlarda, yeraltı elektrik kablosundaki bozukluknın, kabloyu test etmek amacıyla birkaç yer kazılarak bulunması gerekebilir ya da diğer bir seçenek, söz hususu yeraltı kablosunun bölümünün değiştirilmesi olabilir.

Yeraltı elektrik kablosu kullanışlıdır ve estetik yönden hoştur, fakat bir problem oluştuğunda, kopmayı tam olarak teşhis etmek ve size en iyi tamir yöntemleri hususu ile ilgili tavsiyede bulunmak amacıyla bir eksperden ya da yeraltı kablo uzmanından yardım alabilmek en iyisidir.

]]>
https://www.kabloarizatespiti.com/yeralti-elektrik-kablolarinin-sorunlari/feed/ 0
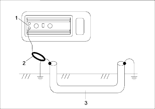
AG izolasyon test ve raporlama https://www.kabloarizatespiti.com/ag-izolasyon-test-ve-raporlama/ https://www.kabloarizatespiti.com/ag-izolasyon-test-ve-raporlama/#respond Sat, 22 Jan 2022 11:14:57 +0000 https://www.kabloarizatespiti.com/?p=1931 AG izolasyon test ve raporlama

ELEKTRİK KABLOLARINDA İZOLASYON DİRENCİ TESTİ VE İZOLASTON TEST PROSEDÜRÜ


1-AMAÇ :
Bu doküman; yeni tesis veya , arıza ve bakımdaki , kablo veya elk. teçhizatın izolasyon direncini ölçen cihazlar ile yapılan testlere rehberlik olması için tarafımızdan mevcut bilgi ve belgeler göz önünde tutularak hazırlanmıştır.


2-TEST HAZIRLIĞI:
a)-Test edeceğimiz kablolar iki ucundan bağlantı noktalarından ayrılarak izole edilir. Kablo doğrulama ve kopuk testi için ,kablo karşı uçtan birleştirilerek (kısa devre) doğruluk ve süreklilik testi yapılır.
b)-kablo iki uçtan tekrar izole edilir(açık devre) ve yüksel gerilim ile çalışma yapılacağın dan uyarı levhaları, emniyet şeridi, kilit , nöbetçi v. s emniyet tedbirleri alınır.
c)Test işlemi esnasında kablo yüksek voltaj ile yükleneceğinden, kablo uçlarına test proplarına ,cihaz deşarj olmadan dokunulmaması ve eldiven kullanılması hayati önem taşır.


3-TEST VE ÖLÇÜMLER :
a)-İzolasyon direnç ölçümleri ;test gerilim kademesi seçilerek ,aktif iletken ile toprak(ekran) arasına ,iletken ile aynı kablodaki diğer iletkenler arasına, nötr ile koruma toprağı arasına tek tek uygulanıp okunan değerler kayıt altına alınır .


b)kabloya uygulanacak gerilim nominal çalışma geriliminin iki katına kadar artırılabilir.


c)Normal direnç ölçümlerinde cihazın(L + )ucu kablo damarına( E -) ucu ekrana, veya direncini ölçeceğimiz diğer uca bağlanır. ancak izolasyon direnci toprağa karşı ölçülecek ise( +) terminalin toprağa bağlanması tavsiye edilir.


d)-izolasyon direnç değerlerinin kablodaki zamansal değişimleri ni incelemek için yeni tip cihazlarda DAR :Dielectric Absorpion Ratio 1 mint./15 sec.(Dielektrik soğurma Oranı) ve PI Polarization İndex(Polarizasyon Oranı )değerleri 1 dk ve 10 dk sonunda otomatik olarak ekranda gösterilmektedir.(ölçüm değerleri (0) ve sonsuz (OL) gösterirse bu değerler doğal olarak okunamaz)
PI 4 or more 4 – 2 2.0 – 1.0 1.0 or less
Criteria Best Good Warning Bad

DAR 1.4 or more 1.25 – 1.0 1.0 or less
Criteria Best Good Bad
Cihaz kılavuzundan alınan yukarıdaki tablolarda görüldüğü gibi çıkan değerin bir(1) ün üzerinde olması istenir ve her iki benzer test te de direncin zamanla bağlı düşüp düşmediğinin oransal değerlerini verir.

e)-Çok yüksek direnç değerleri ölçmek ve en doğru sonuçları elde etmek için test cihazındaki üçüncü uç olan koruma (guard)kablonun iç yalıtımının etrafına bir tel sarılarak üç proplu bağlantı yapılır .Buradaki amaç ( +) ve (-) proplar arasında kablo bağlantısına yakın yüzey akım sızıntılarını önlemektir.

AG izolasyon test ve raporlama

AG izolasyon test ve raporlama


4 TEST DEĞERLENDİRME VE SONUÇ:
a)Bu izolasyon direnci ölçümü prosedürü DIN VDE 0100-600 IEEE 43 standartları ,TEDAŞ TS IEC 60502- 2 Standarları incelenek özetlenmeye çalışılmıştır.


b) yalıtım direnci ölçen test cihazların ohm (r=v/ı) göre kablo uçlarına yüksek voltaj uygulayarak kaçan akımın oranına bölümünü , (megger,kyoritsu,sonelmig,metrel,hioki v.b)ekrana değer olarak verirler.
c)elde edilen direncin sonsuz (OL) ,G ohm ,M ohm, yüksek çıkması ölçülen kablonun izolasyonunun iyi olduğu ,değerK ohm ise izolasyon arızalı veya arızaya yakın, ohm sıfıra yakın ohm ,0(sıfır) ohm,çıkması halinde izolasyonunun kötü( arızalı), iletkenler arası veya iletken in toprak ile temas lı olduğu anlamına gelir.


d)Kablonun izolasyon direnci R=k.log10.D/d formulunden hesaplanır, değer kaçak akım yok ise ( M ohm ,G ohm lar seviyesinde) olacaktır. ancak bu formül kablo uzunluğu, k yalıtım malz. sabiti iletken çapı v.s birçok değişken ve hesap gerektirdiğinden ,pratikte
izolasyon direncinin örneğin uygulanan gerilimin x1000 çıkması 5000 v (için)x1000 = 5000 000 ohm=5 M ohm çıkması yeterli olacağı varsayılmaktadır (bu değerler sağlamak için kaçak akımın 1 mili amperi geçmemesi gerektiği I=V/R den )görülmektedir.


e)Yaptığımız izolasyon direnç testlerin de, zaman zaman, özellikle alçak gerilim kablolarında yüksek dirençli arızalar (birkaç Mohm,K ohm , yüksek ohm değerindeki kablolar ,eskime ,ağaçlanma, delinme ,çatlama ,karbonlaşma, doğal etkiler, kötü ekler den dolayı) yukarıdaki şıklarda belirtiğimiz şartlar sağlansa bile ,yüksek izolasyon direncine rağmen arızalı olabilmekte dir (veya bu durumun tersi kablolar karbonlaşmış izolasyondan dolayı düşük direnç değerleri olup enerji tutabilmektedir ) özellikle yeni tesis edilmeyen ve işletmede olan ,yüksek kısa devre akımlarına maruz kalan kabloların arızalı veya sağlam olduğundan kesin emin olmak için ( HI-POT ,SIM , VLF,DC ŞOK) içeren yüksek güçlü test cihazlarına ihtiyaç duyulur.


f)testler bittikten sonra kablolar deşarj edilir, test bölgesi kontrol edilip ,test sonuçları test raporuna yazılır, test cihazının kalibrasyon belgesi eklenip, testi yapan ve test gözlemcisi imzasıyla ilgili işletmeye verilmelidir.

]]>
https://www.kabloarizatespiti.com/ag-izolasyon-test-ve-raporlama/feed/ 0